Apple Patents: Despite the fact that technology, such as smartphones, is a great thing, it can also lead to trouble from time to time. For example, there are a lot of people who have a hard time hanging onto their Apple Inc. (NASDAQ:AAPL) device. They don’t want to drop it on the ground, but for one reason or the next this is always happening.
While there is nothing Apple can do to cure “butter finger syndrome,” the Cupertino based company is experimenting with a few other ideas.
For example, Apple has filed a patent application for technology it calls “buckling shock mounting.”

While there is nothing wrong with using a cover that is meant to absorb some of the shock, this is not always something that works. Apple Inc. (NASDAQ:AAPL) is hoping to change its design approach to help protect consumers who just can’t seem to hold onto their device.
Here is the abstract of the patent:
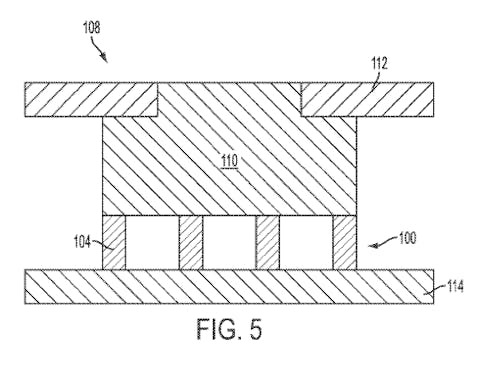
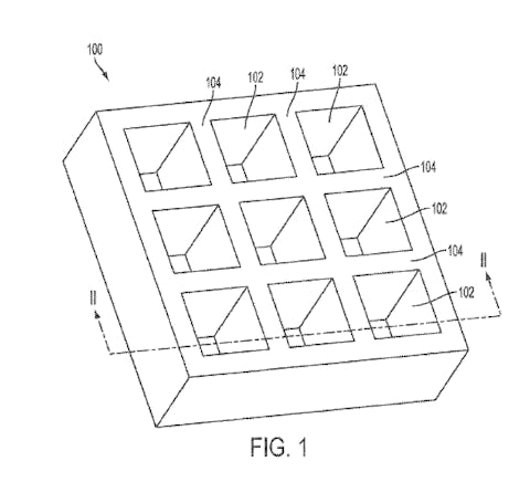
“A buckling shock mounting and method related thereto are discussed herein. In one embodiment, the buckling shock mounting may take the form of a plurality of panels oriented uprightly within a plane to form at least one geometric shape. The plurality of panels are made of a uniform material and each of the panels is configured to buckle when a threshold amount of force is applied perpendicularly to the plane.”
At this point, you may be wondering what type of equipment this could help save. Well, this all depends on how the design is employed. That being said, the following point is listed in the patent:
“The electronic device of claim 8, wherein the shock sensitive component comprises one of a: camera, a display, a speaker, a microphone, a printed circuit board, or a hard disk drive.”
As you can see, this covers a variety of Apple Inc. (NASDAQ:AAPL) devices.
Some Apple patents are related to some sort of technology. Sometimes, the idea is so far out that people can never fathom it being brought to market in one of the company’s devices. On the other hand, there are patents like this one that are easier to understand and meant to help with everyday problems such as “butter fingers.”
The patent was first filed for on October 25, 2011. The inventors are listed as Anthony Montevirgen and Stephen Lynch.
If you want to get a better idea of how this may work, check out the official images on the next page:



Disclosure: none
Check back here for more updates on Apple Patents.
For more news stories, visit these pages:
Will Twitter Disrupt News As We Know It?
Why Carl Icahn Is Dead Wrong About Apple
Ride Apple’s Coattails to Double-Digit Profits With This $10 Stock



